Građevinsko zemljište na prodaju, Graničarska 25, 70.000€, 37.0a
Subotica, Gradske lokacije, Makova Sedmica
Prikaži mapuOglas ažuriran: pre 3 dana


Građevinsko zemljište
37.02 a
- Infrastruktura: asfaltni prilaz
Opis oglasa
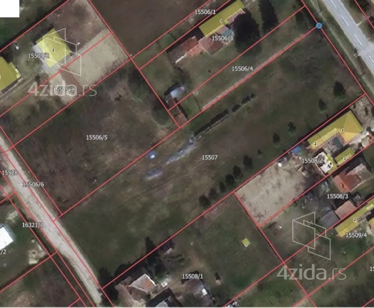
Građavinsko zemjište sa izlazom na dve ulice, adresa Graničarska 25, broj parcele 15507 NOVI GRAD.
*Sačuvaj oglas uz belešku i primaj obaveštenja o njihovom pojeftinjenju ili pojavljivanju sličnih
Prikaz zemljišta na mapi
Obeležja kulture u blizini
- Palata Rajhl11 min
- Spomenik Dežeu Kostolanjiju12 min
- Spomenik Aleksandru Lifki12 min

Škole/Fakulteti/Vrtići u blizini
- Osnovna škola (Osnovna škola Majšanski put)7 min
- Srednja škola (Ekonomska škola Bosa Milićević)9 min
- Vrtić (Dečiji vrtić Snežana)5 min
- Fakultet (Visoka škola strukovnih studija za obrazovanje vaspitača i trenera)10 min

Zdravlje
- Bolnica (Neuropsihijatrska ambulanta Subotica)10 min
- Klinika (Poliklinika Dr Evetović)9 min
- Teretana (EMS Studio Maxifit)15 min
Hrana i piće
- Prodavnica (Supermarket Univerexport)5 min
Prevoz
- Autobuska stanica (MZ Graničar)5 min
Ostale ustanove
- Banka (NLB Komercijalna banka)11 min
- Pošta (Pošta Subotica 10)6 min
Kontakt oglašivača
Laslo

▾Reklama▾
Keš krediti
RSDIznos kredita
Period otplate
13 meseci